Farriery & Laminitis

© Yehuda Avisar, DVM

published in ANVIL Magazine, October 1996

The farrier has an extremely important role in the prevention and treatment of laminitis, one of the most crippling diseases of the horse. Client education about the risk factors that lead to laminitis can save many horses. Besides being able to master forge work for the construction of special horseshoes, the farrier should be familiar with foot disorders and be capable of providing emergency treatment. Farrier/veterinarian collaboration to combine medicine, surgery and farriery is critical for increasing the horse's chance for recovery.

THE LAMINAE

The laminae make up the structure responsible for anchoring the coffin bone to the hoof wall. The laminae consist of an arrangement of non-sensitive laminae made of keratin and sensitive laminae that contain blood vessels and nerves. Both types are connected together in a dovetail fashion that suspend the coffin bone within the hoof (Figure 1a). When the laminae become inflamed, the disease is termed laminitis. Causes of the disease are varied and quite unrelated. They can be grouped into metabolic, biomechanic and traumatic effects (Table 1).

Laminitis is accompanied by interference of oxygen and nutrient supply to the feet that results in necrosis and detachment between the sensitive and non-sensitive laminae. The laminar region of the hoof at the toes is more predisposed to damage due to the anterior- posterior direction of the forces that are placed on the foot. The forelegs are most commonly affected because they bear more weight. When the connection between the sensitive laminae and nonsensitive laminae weakens, the coffin bone can rotate or sink (Figures 1b, 1c). The forces that act to alter the coffin bone position during laminitis were classified by Coffman (1970) into tearing forces, driving forces and pulling forces (Figure 2).

Image not available. Image not available. Image not available.
Figure 1.a. (left) The normal relationship between the coffin bone and the hoof capsule. The parallel lines represent the laminae that anchor the coffin bone to the hoof wall. b. (middle) Rotation of the coffin bone following laminar damage. c. (right) Sinking or displacement of the coffin bone.


Table 1. Causes of laminitis in the horse
(adapted from Linford 1990)
  • Grain overload
  • Retained placenta
  • Steroid therapy
  • Grazing on lush spring grass
  • Excessive weight bearing on one
    limb following injury to the opposite limb.
  • Hard work on hard ground
  • Excess intake of cold water
    after hard exercise
  • Colic
  • Generalized disease
  • Overfeeding
  • Toxins

The precise way that the destruction of the laminae starts is still unknown. There are variations among horses in their sensitivity to the disease. Factors such as obesity, nutrition, hoof conformation (laminar surface area), horn quality and type of work play critical roles.

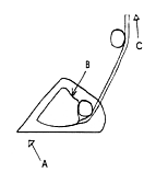
Image not available.

Figure 2 (to the left). The biomechanical forces that can alter the position of the coffin bone following an insult to the laminae (modified from Coffman 1970): Tearing forces (A) = Ground pressure on the toe. Driving forces (B) = weight of the animal. Pulling forces (C) = The pull of the deep digital flexor tendon on the coffin bone.

CLINICAL SIGNS & EMERGENCY TREATMENT

Laminitis can be divided into two main types: acute and chronic laminitis. The early acute laminitis is accompanied by lameness before the appearance of external changes in hoof conformation. Initially at the laminitic stage, the horse walks with short steps as if it were walking on stones after being trimmed too short. The farrier should be able to examine the feet for pain, increased surface temperature and digital pulse. Hoof testers suitable for horses are applied over the sole area at the margin of the coffin bone, taking into consideration that the horse may have been trimmed recently and therefore has sore feet.

Temperature of the hoof is examined by placing the palm of the hand over the toe and comparing between hooves for increased warmth. Digital pulse is checked by pressing with the fingers against the digital arteries situated below the fetlock and slowly releasing the pressure. Detection of pulse and/or increased temperature indicates an inflammation inside the foot.

The horse may place more weight on the heels when walking, in this way trying to remove weight from the painful toes. When the forelegs are affected, the horse places the hind legs well forward under the belly in a typical stance.

At the acute stage of laminitis the farrier can advise the owner to remove the cause if obvious (e.g., the horse was eating too much grain), and get medical help. Emergency aid for horses that are suspected of developing laminitis consists of pulling the horseshoes, trimming excess horn and placing the horse on soft sand or mud. Nail pullers are used to pull the nails one by one in order to minimize strain on the damaged laminae that can be caused by the pulloff's leverage. The toes are dubbed to decrease the lever arm effect on the toe (Linford 1990).

By providing the first aid, we reduce the forces that tend to rotate P3 but despite that, the disease can progress; therefore, laminitis should be treated as an emergency. The damage to the hoof tissue can be severe enough to cause rotation and protrusion of the coffin bone through the sole. Permanent or chronic laminitis could result in severe or unattended cases.

FARRIERY FOR THE ACUTE CASE

If the destruction is severe enough, the coffin bone detaches and begins to rotate or, more rarely (Moore and Allen 1995), is displaced. Externally there is the appearance of dropped sole, separation at the white line and in severe cases, protrusion of P3 through the sole. At this stage the horse is extremely lame and reluctant to move. Radiographs taken to calculate the degree of rotation of P3 are useful for assessment of therapy and in making a decision whether to euthanize the animal (Stick et al 1982). A depression at the coronary band is a grave sign indicating that the coffin bone is sinking.

The treatment of the acute laminitis case includes removal of the cause, medical treatment and minimizing the effect of the biomechanical forces caused by the weight of the animal, including the pull of the flexor tendons and the ground pressure on the toe. Although several devices have been invented for the purpose of stabilizing the rotation of the coffin bone, it is extremely important to realize that once the coffin bone begins to rotate, it is impossible to return it to its normal position. The space that is created at the separation area is filled with blood clots and debris that are replaced within days by fibrous tissue.

Various horseshoes, devices and pads can be applied to support the coffin bone, depending on the farrier's preference and experience. Linford's (1990) recommendation was to avoid shoeing the acute laminitis case, as pounding with the shoeing hammer and lifting the horse's leg for prolonged periods of time will tear more laminar tissue and create more stress.

Image not available. Image not available. Image not available.
Figure 3. Application of Custom Support Foam to a case of acute laminitis. a. (left) The material is unrolled and then folded to an area of 4" x 4", immersed in water and placed over the frog and sole so that it protrudes about 1" above the sole. b. (middle) The material is held in place with adhesive tape. c. (right) Print of the sole surface is made by the weight of the horse. The pad can be removed for examination of the foot and then reapplied.

Treatment of the acute case is aimed at supporting the sole and frog in order to prevent further rotation of the coffin bone. One of the best methods used is the application of Custom Support Foam (available through 3M Animal Care Products, Building 225-1N-07, 3M Center, St. Paul, MN 55144-1000) (Colahan 1994) to pad the sole (Figure 3). The foam becomes imprinted into the shape of the sole and frog, distributing even pressure to the bottom of the foot.

Special pads such as Lily Pads and Thera-Flex pads were designed to support the coffin bone by pressure application on the frog. Similarly, heart bar shoes are made to support the coffin bone by placing a metal tongue under the frog. In the event that there are no materials, two or three rolls of gauze can be wrapped temporarily against the frog. With this method, consideration has to be given to the amount of pressure applied and to the location of the tongue relative to the frog. To avoid pressure necrosis, the heart bar (tongue) should not extend to the point of the frog (Moore and Allen 1995). Linford (1990) indicated that frog support shoes continue to put pressure on the frog when the horse is recumbent, and this can lead to subsolar necrosis; therefore, the above mentioned special pads have an advantage in that regard. Goetz (1987) described the use of adjustable heart-bar shoes for the support of P3 during laminitis. He described anatomical considerations in the treatment of laminitis, and recommended avoiding direct pressure on the sole caused by pads, casts or horseshoes during acute laminitis. If pressure is placed too far back (caudal) on the frog by making the tongue short, rotation of P3 is exacerbated by pressure on the digital cushion; the same thing is observed when an opening is made in a pad to relieve pressure from the solar margins of the coffin bone. The back part of the pad pressing against the back of the frog will worsen the condition.

Image not available.

Figure 4 (to the left). The appearance of chronic laminitis and realigning the coffin bone. A. Lowering the heels to place the coffin bone in a straight line with the phalangeal bones. B. Rasping the toe to parallel the hoof wall with the foot axis and C. Reducing ground pressure by dubbing the toe. The dashed lines represent the part to be trimmed.

Some authors (Linford 1990) recommend not changing the foot axis, while Redden (1992) described the use of an 18o elevated heel shoe used to reduce the pull of the deep digital flexor tendon. Raising the heels may actually cause contraction of the flexor tendon and will also increase the driving force on P3.

Hoof wall resection may be done on some of the acute cases in order to relieve pressure inside the toe. Removal of the wall is done only at the toe region. The foot is blocked with a local anesthetic, and the wall is removed until the laminae is reached. There are several methods used to resect the hoof wall, including thinning the wall with a hoof rasp and then using the hoof knife or special nippers (12" GE Half Round).

Image not available. Image not available.
Figure 5. Shoeing the chronic laminitis case with a. (left) wide web horseshoe, side clips, rolled toe and extended heels or b. (right) a bar horseshoe made from a used rasp and a pad.

SHOEING THE CHRONIC LAMINITIS CASE

Chronic laminitis is accompanied by changes in hoof conformation. The pressure from the ground on the toes and laminar weakening causes abnormal widening at the white line and a convex toe. The flat sole caused by the pressure from P3 is uncomfortable to the animal when it walks on stones. Even with these changes, the hooves can be stabilized enough to carry the horse's weight as new laminar growth and keratin formation develop. Factors such as laminar surface area and strength, type of work performed and treatment play a role in the future use of the horse.

Treatment of chronic laminitis consists of regular trimmings to establish normal hoof conformation and realignment of the digital bones. It includes lowering the heels to align the coffin bone in a straight line with the other two phalangeal bones, and rasping the toe to reconstruct the foot axis (Figure 4). Shoeing of the chronic case includes removal of pressure from the sole and its protection with wide-web shoes that give the animal confidence when walking. The shoe can be made from 1" bar stock or a used rasp (Figures 5a, 5b). Extended heels can provide caudal support that will remove stress from the toes and maintain an improved anterior-posterior balance following the lowering of the heels. In order to relieve pressure at the toe area, a section from the hoof wall is cut, leaving an open space between the hoof and horseshoe. To ease breakover, the hoof surface of the shoe is made concave and a rolled toe is added. Other types of horseshoes that can be used include a shoe with a leather pad packed with pine tar and oakum and the reversed shoe or egg bar shoe. Acrylics can be used to reconstruct the hoof wall when there is no evidence of inflammatory secretions from the hoof. The distance between the hoof and hoof surface of the shoe has to be observed regularly for signs of re-rotation of the coffin bone. If this occurs, the horse should be treated as for acute laminitis.

In conclusion, there is more than one method that the farrier can apply for the treatment of laminitis in the horse. Farrier/veterinarian collaboration is essential for increasing the horse's chance for recovery. Client education is most important for the prevention of the disease in the horse.

REFERENCES

Coffin RJR et al (1970) Biomechanics of pedal rotation in equine laminitis. JAVMA, Vol 156, No 2.

Colahan P (1994) University of Florida, College of Veterinary Medicine, Large Animal Clinical Sciences. Personal Communication.

Goetz ET (1987) Anatomic, hoof and shoeing considerations for the treatment of laminitis in horses. JAVMA, Vol 190, No 10.

Linford LR (1990) Laminitis (founder). In: Large Animal Internal Medicine. Ed. Smith PB Mosby. pp 1158-1168.

Moore NJ and Allen AD (1995) A Guide to Equine Acute Laminitis. Veterinary Learning Systems.

Redden RF (1992) 18-degree elevation of the heels as an aid to treating acute and chronic laminitis. Proceedings: AAEP 38th Annual Convention.

Stick AJ et al (1982) Pedal bone rotation as a prognostic sign in laminitis of horses. JAVMA, Vol 180, No 3.

Yehuda Avisar is practicing equine veterinary medicine in Neoth Golan, Israel. Prior to that, for 17 years he worked as a farrier, including 7 years with UC Davis farrier, Charles Heumphreus.

Return to the Veterinary/Technical Articles page

Return to the ANVIL Online Table of Contents for October, 1996.